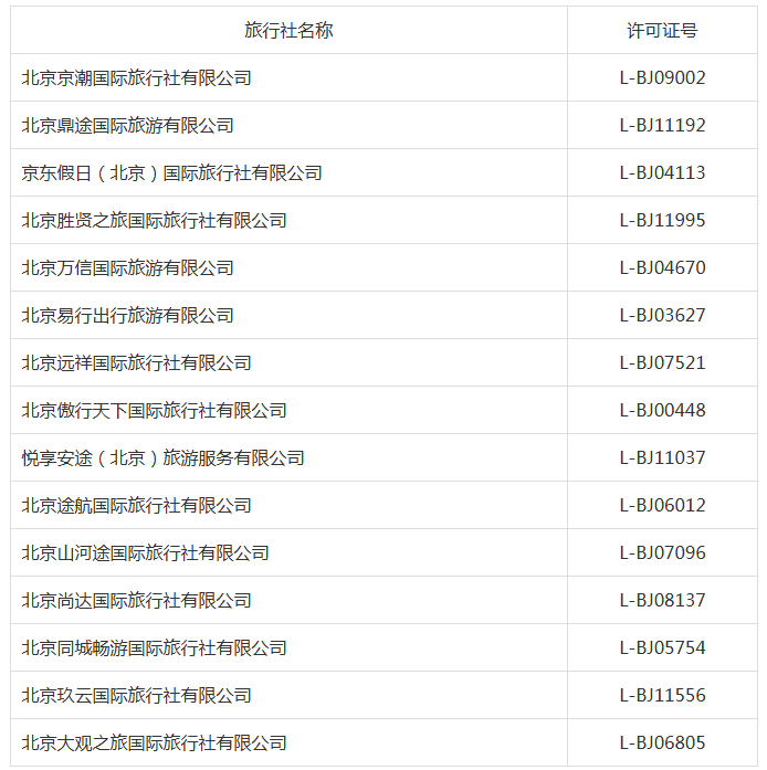
根据我市旅行社涉诉情况统计,现公示2026年3月23日至3月29日,北京市投诉量排名前十旅行社名单如下:

上述旅行社收到的投诉主要涉及:行前解约、行程中未达到约定服务标准、擅自变更旅游行程、擅自增加另行付费项目问题、增加购物店或购物时长、导游服务等问题。
本期上榜旅行社,前期均已经被暂停了北京市旅游团队电子行程单系统备案权限,目前暂不具备组织安排团队游客实际出游的相关资格,请谨慎报名参团旅游。
北京市文化和旅游局提醒广大游客、旅行社同业、在线旅游平台,请选择投诉少、服务好、信誉高的旅行社参团或合作。
北京市文化和旅游局温馨提示
一、为提升广大市民和游客对网上报名参加团队旅游的“防坑”和“避雷”能力,北京市文化和旅游局专门编写了《网上参团旅游“防坑”温馨提示》,从网上咨询、报名、交费、参团、旅游、投诉、举报等各个环节,全链条、全方位指导游客如何规范参团旅游和维护合法权益,提升市民和游客对不法旅行社违法违规经营行为的防范意识和辨别能力。请登录北京市文化和旅游局官方网站“专题专栏”,进入“网上参团旅游‘防坑’温馨提示”栏目进行浏览,或者直接在北京市文化和旅游局官方网站,搜索“网上参团旅游‘防坑’温馨提示”查询并浏览相关内容。
二、如想查询北京注册旅行社信用等级,请登录北京市文化和旅游局官方网站,在“业务系统”栏目,点击进入“北京市文化和旅游行业信用信息网”,再点击“信用档案”,然后在搜索栏输入旅行社名称进行查询。
北京注册旅行社初始信用等级为“C级”(基础级),“A级”信用等级最高、“B级”信用等级良好、“D级”信用等级最差(异常),请务必选择信用等级高的旅行社参团旅游。
三、北京市文化和旅游局对信用等级为“D级”的旅行社,暂停其北京市旅游团队电子行程单系统备案权限。如选择了信用等级为“D级”的旅行社报名参团,请让当天带团导游出示您所在旅游团的电子行程单二维码,并现场扫描该二维码来查验该旅游团的信息是否与您的旅游合同行程相符合;如该导游不能出示电子行程单二维码,或者扫描查验的信息与您的旅游合同行程不符合,可能涉嫌存在未依法备案旅游团队电子行程单的违法违规行为。请您收集好录音、录像及旅游合同等相关证据材料,及时向北京市文化市场综合执法总队(电子邮箱:12318@whsczfzd.beijing.gov.cn)或该旅行社注册地的相关区文化和旅游局进行举报。












京公网安备 11010502035003号